
LZF防閉塞裝置產品概述:
倉壁振動器也稱防閉塞裝置、倉壁振打器,用于防止和排除各種料倉由于物料的內摩擦、潮解、帶電、成分偏析等原因引起的“堵塞”、“塔拱”現象;倉壁振動器也稱防閉塞裝置、倉壁振打器亦可用于清除各種倉壁、管道粘結物料,倉壁振動器也稱防閉塞裝置、倉壁振打器還可作為振動給料機、振動輸送機、振動漏斗、振動溜槽的振。LZF系列防閉塞裝置廣泛應用于冶金、化工、建材、火電、煤炭、食品、水泥、制藥、化肥、糧食、鑄造、陶瓷、磨料等行業中貯料倉的防閉塞之用。ZFB系列防閉塞裝置具有體積小、重量輕、節能、安裝簡單等優點。
LZF防閉塞裝置結構說明:
LZF型料倉振動破拱防閉塞裝置是應用振動電機的一個典型實例,該裝置以YZD型振動電機為激振源,采用焊接結構,臺架與振動電機采用高強度螺栓緊固。
LZF防閉塞裝置技術參數表:
LZF系列倉壁振動器可用螺栓把底座固定于料倉底部的倉壁上,也可直接把底座焊接在料倉上,其固定(焊接)要牢靠,與倉壁連接的剛度越好,其使用效果就越好。
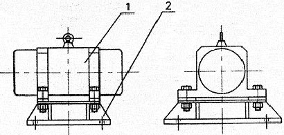
LZF防閉塞裝置結構及工作原理:
結構如圖所示。由振動電機(1),底座(2)兩部分組成。振動電機和底座由螺栓緊密地固定為一體。由于底座緊固地安裝在料倉壁上,這樣就構成了單質點定向***振動系統。
LZF型料倉振動防閉寒裝置采用電機作為激振LZF型料倉振動防閉寒裝置采用電機作為激振源。當LZF系列防閉塞裝置工作時,振動電機的高速轉動,便產生了對料倉壁的周期性高頻振動,由于防閉塞裝置的周期性振動,一方面使物料與倉壁脫離接觸、消除物料與倉壁的摩擦,另一方面使物料受交變速度和加速度的影響,處于不穩定狀態,從而有效地克服物料的內摩擦力和聚集力,以消除料倉內物料間的相對穩定性,使物料從料倉口順利排出。
LZF防閉塞裝置主要尺寸表:
LZF防閉塞裝置安裝部位及方法:
1.全鋼板制料倉:LZF型裝置應當焊接在料倉倉壁面上。
2.全混凝土料倉及帶加強鋼筋制料倉,在倉內應敷設振動板,LZF型防閉塞裝置應焊在振動板上。
3.上部為混凝土料倉,下部為鋼制料斗。LZF型防閉塞裝置應當焊接在干制料斗壁面上。
4.貯存純粗塊物料的料倉,這種物料的料倉,無論形式如何,均應在倉內敷設振動板。LZF型裝置應焊在振動板上。
5.溜槽:LZF型防閉塞裝置應焊在溜槽易粘,堵料的部位上。
LZF型防閉塞裝置應安裝在安裝面的振動波腹段上,振動波腹段在安裝面距上邊或下邊總長度的三分之一至四分之一的部位。
LZF防閉塞裝置操作與維護:
在防閉塞底座焊接的時候一定要注意底座是否平穩,防閉塞裝置安裝連接處是否水平。
振動電機運轉初期,由于螺栓、螺母與底座平面間的磨合,會降低緊固力,出現小的松動,故運轉初期應將振動電機的底腳螺栓多次擰緊,開始時每天緊固一次,兩周后每周檢查緊固一次。定期給振動電機上潤滑油,一般為2個月內上一次。

實力廠家 值得信賴
根據客戶的生產要求進行制造各種篩分機械

技術研發 創新服務
根據客戶的生產要求進行制造各種篩分機械

品質管控 質量保證
根據客戶的生產要求進行制造各種篩分機械

服務保障 售后完善
根據客戶的生產要求進行制造各種篩分機械
